Multiwall Carbon Nanotube Tweezers
NanoLab is developing carbon nanotube based tweezers for x manipulation of nanoscale objects in various
environments. Two element nanotube tweezers are typically actuated using DC voltage. In the case of three
or more nanotubes are used for grasping, an AC signal can be used.

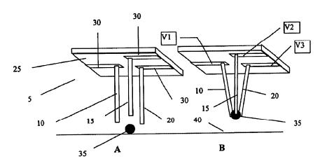
(A) In the figure above, a 3 phase voltage (V1,V2, V3) applied to each carbon nanotube (10,15,20). The phase
angle is adjusted, so at any moment in time, two of the nanotubes are attracted to each other. At time (B),
the voltage on CNT 10 is positive, while the voltage on CNT 15 and 20 are negative. The result is an
attractive force between 10 and 15 and between 10 and 20. A repulsive force exists between 15 and 20. At
time (C), the voltage V1 on CNT 10 is still positive, but V2 is now 0, and V3 is negative. A strong
attractive force is felt between CNT 10 and CNT 20. At time (D), the voltage V1 is still positive, but the V2
on CNT 15 is also positive, and V3 on CNT 20 is negative. Now an attractive force appears between CNT 10 and
20, and between 15 and 20, while a repulsive force appears between 10 and 15.
The net effect of the phase rotation is that the nanotubes will convergence on the center, providing a tweezing or grasping action for anything between the three nanotubes.

US patent number 6,950,296, entitled “Nanoscale grasping device, method for fabricating the same, and
method for operating the same” was issued to NanoLab on September 27, 2005.
Recently, one of our engineers created two short movies that are posted on Youtube. These movies show a two
element nanotube tweezer being actuated to close. In the video, the voltage is ramped from 0 to 12V, where
the nanotube tweezer closes. Three element grasping tools and three phase driving circuits are now being developed.
Movie 1: Nanotube tweezer
Movie 2: Bending broken fiber
Buy nanotube tweezers: Order nanotube tweezers
|
|
|
This page is created on 07/24/09, updated on 08/10/2011 |
 |
|